Hvortil kan en brændeovn med vandtank “gris” tilsluttes?
Brændeovne med vandtank, også kaldt “gris”, kan tilsluttes et solvarme anlæg eller centralvarmeanlæg og giver en effektiv og miljøvenlig besparelse på varmeregningen.

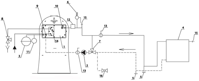
Det anbefales at installer en varmtvandsbeholder. En brændeovn med vandtank kan tilsluttes hvor som helst på det eksisterende centralvarme anlæg, hvor den kan hæve vandtemperaturen op til 80º-90º. Men det er bedst at tilslutte den så tæt på varmtvandsbeholderen som muligt. For at få så meget varmt vand som muligt gennem varmtvandsbeholderen. Det har den fordel, at når ilden i brændeovnen er gået ud, vil vandet i centralvarmeanlægget blive opvarmet af varmtvandsbeholderen, så man på den måde har varme på i længere tid.
Braendeovne-vandtank.dks brændeovne med vandtank kan både installeres med åben og lukket ekspansion. Varmen ledes direkte til et centralvarme anlæg og giver mulighed for opvarmning af et tilstødende rum, det varme brugsvand eller bare giver et supplement til centralvarmen. Man skal være opmærksom på, at en brændeovn med vandtank ikke er en centralkedel, men ”kun” en supplements ovn, der vil blive en rigtig god investering.
Mange lider stadig af denne opfattelse at en brændeovn med vandtank ikke må tilsluttes et anlæg med en lukket ekspansion. MEN med bygningsreglement af 2008 kom der i kapitel 8 (installationer) denne ændring i paragraf 8.5.1.3 stk. 3: vandbeholdere i pejse og brændeovne må ikke sluttes til lukkede centralvarmeanlæg. Dette gælder dog IKKE hvis hver kedel(varmeafgivende enhed) forsynes med en sikkerhedsventil.
Den viste tilslutningstegning er kun et eksempel, som ikke nødvendigvis er fuldstændigt, og den kan ikke erstatte professionel installation!

Billedtekst:

© 1998-2026 bygogbolig.dk ApS